Abhiroop Ajith
aajith at wpi dot edu

I am a second-year PhD student in Robotics Engineering at Worcester Polytechnic Institute, advised by Prof. Constantinos Chamzas and part of the ELPIS Lab. My research focuses on learning representations for Robot Task and Motion Planning.

In another lifetime, I worked with Eugen Solowjow's team at Siemens in Berkeley, California, conducting research on industrial manipulation and manufacturing. Our work involved transitioning technologies from TRL Level 3 to TRL Level 7, supported by the ARM Institute via the Department of Defense and NIST. I contributed to projects including tactile manipulation for defect detection of aircrafts (in collaboration with Boeing, CMU and Gelsight) and textile manipulation (in collaboration with Levi's and Bluewater Defense).

CV last updated: Feb 18, 2024

News

September 2025 The preprint for our paper "Learning Discrete Abstractions for Visual Rearrangement Tasks Using Vision-Guided Graph Coloring" is available.
April 2025 I have received the SIGBED student travel award for $2000 and the Glenn Yee Travel Award for $450.
March 2025 Our Paper "Robotic Automation in Apparel Manufacturing: A Novel Approach to Fabric Handling and Sewing" has been accepted at CASE 2025.
January 2025 Our Paper "Multi-layer Motion Planning with Kinodynamic and Spatio-Temporal Constraints" has been accepted at HSCC 2025.
August 2024 Started PhD at Worcester Polytechnic Institute.

Research

Multi-layer Motion Planning with Kinodynamic and Spatio-Temporal Constraints

📄 arXiv  •   📖 Paper  •   💻 Code

ACM Hybrid Systems: Computation and Control (HSCC) 2025

Jeel Chatrola*, Abhiroop Ajith*, Kevin Leahy, Constantinos Chamzas
* Equal contribution

Robotic Automation in Apparel Manufacturing: A Novel Approach to Fabric Handling and Sewing

📄 arXiv

2025 IEEE International Conference on Automation Science and Engineering (CASE)

Abhiroop Ajith*, Gokul Narayanan*, Jonathan Zornow, Carlos Calle, Auralis Herrero Lugo, Jose Luis Susa Rincon, Chengtao Wen, Eugen Solowjow
* Equal contribution
Collaborators: Levi's, BlueWater Defense, Sewbo

Robotic defect inspection with visual and tactile perception for large-scale components

📄 arXiv  •   📖 Paper  •   📊 Dataset

2023 IEEE/RSJ International Conference on Intelligent Robots and Systems (IROS)

Arpit Agarwal, Abhiroop Ajith, Chengtao Wen, Veniamin Stryzheus, Brian Miller, Matthew Chen, Micah K Johnson, Jose Luis Susa Rincon, Justinian Rosca, Wenzhen Yuan
Collaborators: Carnegie Mellon University (CMU), Boeing, Gelsight

Patents

Patent diagram showing robotic visual tactile surface inspection system

Robotic visual tactile surface inspection system

Patent No: WO2024181994A1  •  Published: September 6, 2024  •  Filed: August 29, 2023

Assignee: Siemens Corporation  •  Authority: WIPO (PCT)

Inventors: Chengtao Wen, Justinian Rosca, Eugen Solowjow, Gokul Narayanan Sathya Narayanan, Jose Luis Susa Rincon, Abhiroop Ajith

📄 View Patent

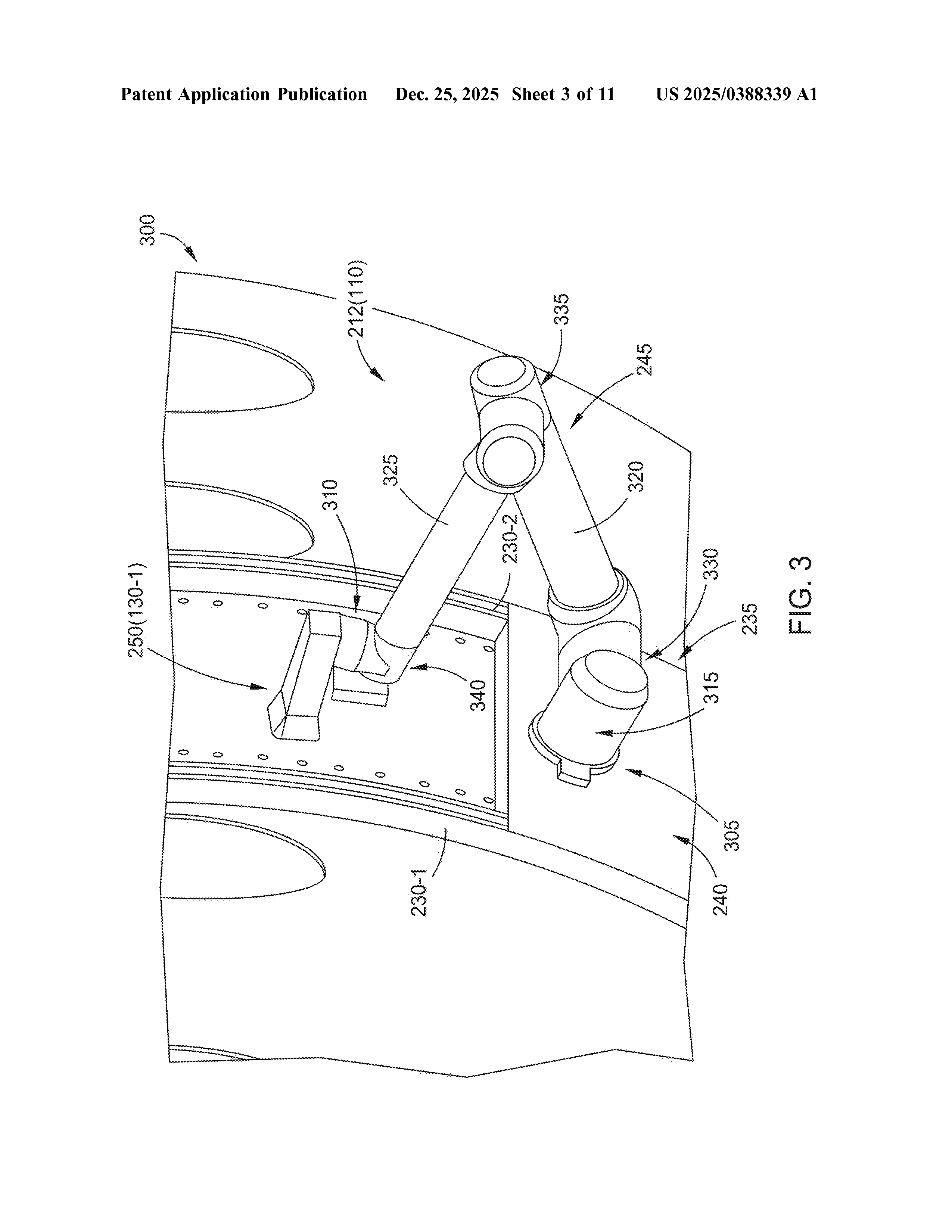
Patent diagram showing multimodal inspection method

Multimodal inspection of large-scale surfaces using vehicle-borne sensors (Method)

Patent No: US20250388339A1  •  Published: December 25, 2025  •  Filed: June 25, 2024

Assignee: Siemens Corporation, Boeing Co.  •  Authority: United States

Inventors: Veniamin V. Stryzheus, Brian T. Miller, Matthew J. Chen, Micah K. Johnson, Abhiroop Ajith, Chengtao Wen, Jose Luis Susa Rincon, Justinian Rosca

A method of inspection of a surface of an aerodynamic structure using image sensors and tactile sensors to identify and characterize defects with corresponding location and dimensioning information.

📄 View Patent

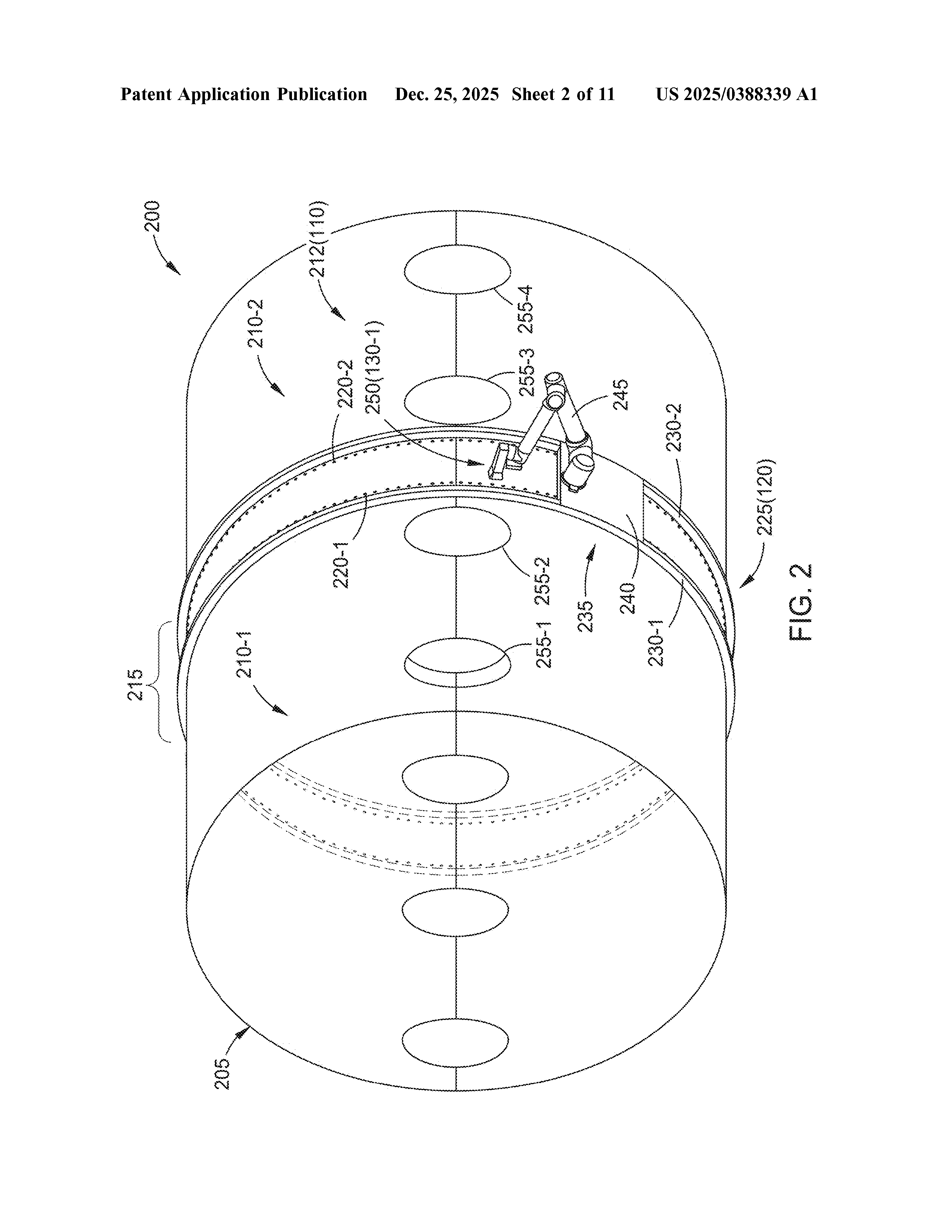
Patent diagram showing multimodal inspection system

Multimodal inspection of large-scale surfaces using vehicle-borne sensors (System)

Patent No: US20250388337A1  •  Published: December 25, 2025  •  Filed: June 25, 2024

Assignee: Siemens Corporation, Boeing Co., Carnegie Mellon University  •  Authority: United States

Inventors: Veniamin V. Stryzheus, Veniamin Tereshchuk, Arpit Agarwal, Wenzhen Yuan, Micah K. Johnson, Abhiroop Ajith, Chengtao Wen, Justinian Rosca

A system for inspection of aerodynamic surfaces using vehicle-mounted image and tactile sensors on a track to identify and dimension predicted defects.

📄 View Patent

Service

🎓 Teaching assistant — RBE 577 Machine Learning for Robotics
📝 Reviewer — Robotics and Automation Letters (RA-L), ICRA, IROS